АЦП азиатских производителей. Часть 3. Многоканальные АЦП с синхронной выборкой
6 августа 2025
Дмитрий Илларионов (г. Нижний Новгород)
КОМПЭЛ представляет серию публикаций, посвященных азиатским АЦП, их функциональным преимуществам и ограничениям. В каждом материале мы будем подробно рассматривать те или иные типы преобразователей, рассказывать о конкретных моделях и основных производителях, а также отмечать нюансы применения.
В серию войдут следующие материалы:
Часть 1. Преобразователи последовательного приближения (SAR)
Часть 2. Сигма-дельта преобразователи (Delta-Sigma)
Часть 3. Многоканальные АЦП с одновременным преобразованием (Simultaneous Sampling)
Часть 4. Преобразователи с низкой разрешающей способностью
Часть 5. Изолированные сигма-дельта модуляторы
Часть 6. Аудио-АЦП
Существует немало приложений, где измеряются характеристики нескольких взаимосвязанных процессов: промышленное измерительное оборудование, аппаратура мониторинга трехфазных сетей, мультифазные электроприводы, многоканальные диагностические комплексы и т.д. В этом случае от аналогово-цифрового преобразователя обычно требуется не только высокая производительность и разрешение, но и возможность одновременной оцифровки сигналов на нескольких измерительных каналах. Такие преобразователи называют АЦП с синхронной выборкой, одновременным преобразованием или Simultaneous sampling ADC. При этом возможны два варианта реализации системы. В первом случае микросхема содержит один аналогово-цифровой преобразователь, а синхронизация осуществляется по устройствам выборки-хранения (рисунок 1).

Рис. 1. Синхронное преобразование с одним АЦП и синхронизацией на УВХ
Такие микросхемы проще и дешевле, однако бо́льшую производительность обеспечивает использование параллельного аналого-цифрового преобразования сразу по всем каналам (рисунок 2).

Рис. 2. Синхронное АЦ преобразование с параллельной работой каналов
Среди продукции китайских производителей АЦП с синхронной выборкой представлены, в основном, 16-битными преобразователями последовательного приближения, позволяющими оцифровывать сигналы на скорости до 1000 киловыборок в секунду (рисунок 3).

Рис. 3. Примеры АЦП китайского производства с синхронной выборкой
Сигма-дельта АЦП с одновременным преобразованием есть только в ассортименте компании Analogysemi (рисунок 4).

Рис. 4. Китайские производители АЦП c одновременным преобразованием
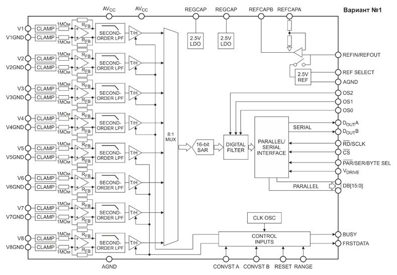
Типичным представителем преобразователя с синхронной выборкой, построенным на базе SAR, является чип TPAFE5160, выпускаемый компанией 3PEAK (рисунок 5). Это 16-битный 8-канальный АЦП, позволяющий оцифровывать данные со скоростью до 350 киловыборок в секунду:
TPAFE5160

Рис. 5. Схема и характеристики АЦП TPAFE5160
В каждом измерительном канале TPAFE5160 установлен усилитель, преобразующий несимметричный входной сигнал в полностью дифференциальный, как того требуют внутренние АЦП микросхемы. Диапазон входных напряжений устанавливается выводом «RANGE» и может составлять ±5 В или ±10 В. Благодаря наличию на входе усилителя высокоомных резисторов, к TPAFE5160 могут напрямую подключаться трансформаторы или другие датчики без внешних схем согласования. Каждый канал измерения оснащен фильтром нижних частот (LPF) для удаления шума от входных усилителей и от резисторов в их цепях обратной связи. В состав микросхемы также входит цифровой фильтр, позволяющий при помощи передискретизации повысить отношение «сигнал/шум» за счет снижения скорости оцифровки сигнала. Преобразователь может работать как с внешним источником опорного напряжения, так и со встроенным; во втором случае между выводом «REFIN/REFOUT» и общим проводом должен устанавливаться конденсатор емкостью не менее 10 мкФ.
Микросхема TPAFE5160 выпускается в корпусе LQFP-64 и является совместимой по корпусу и назначению выводов с АЦП Ax7606 (рисунок 6)

Рис. 6. Корпус АЦП TPAFE5160 и его аналога
Прямая замена микросхем возможна, если будет учтено, что некоторые характеристики у китайского преобразователя немного хуже (энергопотребление, SNR, THD, нелинейность, прочие параметры по постоянному току). Кроме того, при переходе на TPAFE5160 необходимо иметь в виду, что на его выводах REGCAP (№36 и №39) присутствует напряжение около +4 В, в то время, как у AD7606 это значение колеблется в пределах +2,5…+2,7 В.
Аналогичные микросхемы, pin-to-pin-совместимые с серией 7606, присутствуют также у производителей Belling и HTC Semi. Сравнение основных характеристик представлено в таблице 1.
Таблица 1. Сравнение характеристик АЦП китайских производителей, совместимых с АЦП серии 7606
| Параметр | Ax7606C-16 | HT7606 | TPAFE5160 | BL1082 |
|---|---|---|---|---|
| Разрядность АЦП, бит | 16 | 16 | 16 | 16 |
| Количество каналов | 8 | 8 | 8 | 8 |
| Макс. частота выборок, kSPS | 200 | 200 | 350 | 200 |
| Диапазон входных напряжений, В | ±10, ±5 | ±10, ±5, ±12,5 | ±10, ±5 | ±10, ±5 |
| SFDR (тип.), дБ | -100 | -110 | -106 | -99 |
| THD (тип.), дБ | -100 | -107 | -106 | -106 |
| DNL (макс.), LSB | ±1 | ±0,5 | Не указано | ±0,5 |
| INL (макс.), LSB | ±2 | ±0,5 | ±2,5 | ±1,2 |
| Напряжение питания (аналоговая часть), В | 5 | 4,75…5,25 | 5 | 4,75…5,25 |
| Напряжение питания (цифровая часть), В | 1,8…5 | 2,3…5,25 | 1,71…5 | 2,3…5,25 |
| Интерфейс | Параллельный/последовательный | Параллельный/последовательный | Параллельный/последовательный | Параллельный/последовательный |
| Ток потребления (макс.), мА | 27 | 10 | 51 (норм.) | 33 |
| Рабочая температура, °C | -40…85 | -40…85 | -40…125 | -40…85 |
| Корпус | LQFP-64 | LQFP-64 | LQFP-64 | LQFP-64 |
| Цифровой фильтр | Да | Да | Да | Да |
| Защита входов | Есть | Есть | Есть | Есть |
| Встроенная система самодиагностики | Да | Да | Да | Да |
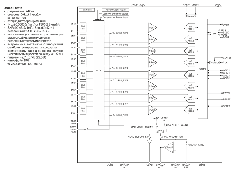
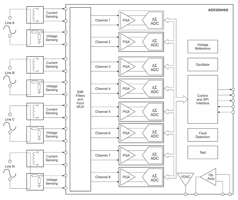
Преобразователи с синхронной выборкой, построенные на базе сигма-дельта АЦП, обычно имеют более низкую скорость оцифровки сигнала, но при этом разрешающая способность у них больше. В ассортименте китайских производителей, продукция которых представлена в нашем каталоге, максимальная частота выборки принадлежит микросхемам серии ADX322x, выпускаемым компанией Analogysemi (рисунок 7). Скорость оцифровки сигнала у данных АЦП может достигать 64 киловыборок в секунду, а разрешающая способность – 24 битов:
ADX3224/ADX3226/ADX3228

Рис. 7. Схема и характеристики АЦП ADX322x
Каждый измерительный канал микросхем ADX322x состоит из фильтра электромагнитных помех, дифференциального усилителя с программируемым коэффициентом усиления и сигма-дельта АЦП. Полоса пропускания фильтра ЭМП составляет 3 МГц, коэффициент усиления КУ может быть выбран из ряда 1/2/4/8/12/24/48. Входной мультиплексор рассматриваемых АЦП позволяет подключить каждый измерительный канал не только ко входу микросхемы, но и к внутреннему датчику температуры, шинам питания или различным служебным сигналам. Кроме того, имеется возможность соединения входов между собой для измерения уровня собственных шумов АЦП. Высокоомные входные цепи позволяют подключать ADX322x напрямую к сетевому напряжению через резистивные делители, а также к токовым трансформаторам (в том числе, к поясам Роговского) (рисунок 8).

Рис. 8. Схема подключения входов АЦП ADX322X
Микросхемы серии ADX322x выпускаются в корпусе TQFP-64 и являются повыводно совместимыми с АЦП семейства AxS131E0x (рисунок 9).

Рис. 9. Корпуса АЦП ADX322x и аналога
Данные преобразователи имеют сходные электрические характеристики и программное управление, поэтому в большинстве случаев микросхемы серии ADX322x могут рассматриваться как прямая замена AxS131E0x. При этом следует отметить, что порой часть параметров китайских АЦП лучше, чем у европейских.
В следующей статье мы рассмотрим преобразователи с низкой разрешающей способностью.
Дополнительные материалы
- АЦП азиатских производителей. Часть1. Преобразователи последовательного приближения
- АЦП азиатских производителей. Часть 2. Σ-Δ АЦП
Наши информационные каналы