АЦП азиатских производителей. Часть 5. Изолированные Σ-Δ модуляторы
3 октября 2025
Дмитрий Илларионов (г. Нижний Новгород)
КОМПЭЛ представляет серию публикаций, посвященных азиатским АЦП, их сравнению по цене, функционалу и ограничениям. В каждом материале мы будем подробно рассматривать те или иные типы преобразователей, рассказывать о конкретных моделях и рекомендованных производителях, а также отмечать нюансы применения.
В серию входят следующие материалы:
Часть 1. Преобразователи последовательного приближения (SAR)
Часть 2. Сигма-дельта преобразователи (Delta-Sigma)
Часть 3. Многоканальные АЦП с одновременным преобразованием (Simultaneous Sampling)
Часть 4. Преобразователи с низкой разрешающей способностью
Часть 5. Изолированные сигма-дельта модуляторы
Часть 6. Аудио-АЦП
При оцифровке малых сигналов с использованием традиционных видов АЦП обычной проблемой являются импульсные помехи, создаваемые цифровой частью схемы и затрудняющие работу аналогового тракта. Для снижения влияния этих помех могут применяться различные технические решения, одним из которых являются изолированные сигма-дельта (Σ-Δ) модуляторы (рисунок 1).

Рис. 1. Структурная схема изолированного сигма-дельта модулятора
При рассмотрении Σ-Δ-АЦП было отмечено, что этот тип преобразователей состоит из двух частей: модулятора и цифрового фильтра. При этом наиболее подвержен влиянию помех именно модулятор, поскольку в нем происходит первичная оцифровка аналогового сигнала. Поэтому вполне логичным шагом является его гальваническая отвязка от остальных узлов АЦП, поскольку в этом случае чувствительный аналоговый тракт преобразователя окажется изолированным от цифровой части, а значит, и от создаваемых ею импульсных помех. Предлагаемый вашему вниманию класс микросхем как раз решает данную задачу – по сути это Σ-Δ АЦП без цифрового фильтра, где однобитный поток данных и тактовые импульсы передаются через гальванически развязанные линии. Дальнейшая же обработка сигнала, необходимая для работы Σ-Δ преобразователя, может быть реализована в микроконтроллере, цифровом сигнальном процессоре или ПЛИС.
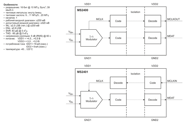
Типичными представителями изолированного Σ-Δ модулятора (ИСДМ) являются микросхемы MS2400 и MS2401, выпускаемые компанией Ruimeng. Электрические параметры данных микросхем идентичны, однако MS2400 имеет встроенный тактовый генератор на 10 МГц, а для работы MS2401 необходим внешний источник тактовых импульсов (рисунок 2).
MS2400/MS2401

Рис. 2. Схемы и характеристики ИСДМ MS2400/MS2401 производства Ruimeng
Микросхемы MS2400 и MS2401 являются полными аналогами классических изолированных модуляторов Ax7400/Ax7401. Корпуса и назначения выводов у микросхем идентичны (рисунок 3).

Рис. 3. Расположение выводов MS2400/MS2401 и их аналогов
К тому же, многие электрические характеристики китайских изделий лучше, чем у Ax7400/Ax7401 (исключение составляют входной ток и энергопотребление). В связи с этим, в большинстве случаев модуляторы MS2400 и MS2401 могут использоваться в качестве альтернативы, если будет учтена разница в указанных выше параметрах.
Улучшенной версией микросхемы MS2401 является модулятор CA-IS1306, выпускаемый компанией ChipАnalog. Данное решение имеет сходные с MS2401 характеристики, однако позволяет запитывать аналоговую часть от более широкого диапазона напряжений и доступно в компактном 8-выводном корпусе (рисунок 4).
CA-IS1306

Рис. 4. Схема и характеристики ИСДМ CA-IS1306 производства ChipAnalog
Микросхема CA-IS1306 выпускается в широких корпусах SOIC-16 и SOIC-8 и является Pin-to-Pin-совместимой с модулятором Ax7403 (рисунок 5).

Рис. 5. Расположение выводов CA-IS1306 и его аналога
При этом практически все характеристики китайского ИСДМ позволяют рассматривать его в качестве альтернативы Ax7403.
Завершим обзор изолированных модуляторов азиатского производства микросхемами NSI1305L25 и NSI1306L25 от компании Novosense. Особенностью этих ИСДМ является передача выходного битового потока и тактовых импульсов в дифференциальном виде по интерфейсу LVDS, а также широкий диапазон напряжений питания аналоговой части. Модуляторы NSI1305L25 и NSI1306L25 имеют одинаковые электрические характеристики, разница между ними заключается в том, что первый срабатывает по спадающему фронту сигнала «CLKIN+», а второй – по нарастающему (рисунок 6).
NSI1305L25/NSI1306L25

Рис. 6. Схема, диаграммы работы и характеристики ИСДМ NSI1305L25 и NSI1306L25 производства Novosense
Микросхемы NSI1305L25 и NSI1306L25 выпускаются в корпусе SOIC-16 и совместимы по характеристикам с модулятором Ax7405, что позволяет использовать их в аналогичных приложениях с учетом их технических параметров (рисунок 7).

Рис. 7. Расположение выводов NSI1305/6L25 и их аналога
В ассортименте компании Novosense также есть изолированные модуляторы NSI1305L05 и NSI1306L05, полностью идентичные рассмотренным выше, но имеющие меньший диапазон входных напряжений (±50 мВ).
В следующей статье мы рассмотрим аудио АЦП.
Дополнительные материалы
- АЦП азиатских производителей. Часть1. Преобразователи последовательного приближения
- АЦП азиатских производителей. Часть 2. Σ-Δ АЦП
- АЦП азиатских производителей. Часть 3. Многоканальные АЦП с синхронной выборкой
- АЦhttps://www.compel.ru/lib/287415П азиатских производителей. Часть 4. АЦП с низкой разрешающей способностью
Наши информационные каналы