Реализация узла управления реле на базе компонентов SUNCO
11 октября 2024
Константин Кузьминов (г. Заполярный)
Для коммутирования как слаботочных сигналов, так и силовых цепей необходима надежная работа качественных электромеханических и полупроводниковые реле, например, выпускаемых компанией Hongfa. Подобрать оптимальную схему поможет наша статья, а найти подходящие качественные и долговечные полупроводниковые компоненты для ее реализации можно среди широкого ассортимента SUNCO. В номенклатуру компании входят диодные мосты, выпрямительные, сигнальные и TVS-диоды, стабилитроны, биполярные, цифровые PNP- и NPN-транзисторы, маломощные тиристоры, симисторы и MOSFET.
Простое по принципу действия (рисунок 1а) и надежное в эксплуатации электромеханическое реле почти двести лет обеспечивает связь между различными приложениями, от простейших устройств до сложных систем автоматизации управления технологическими процессами, коммутируя сигнальные и силовые цепи. Последние потребовали описательной системы, которая развилась в язык программирования промышленных контроллеров – язык релейной (лестничной) логики.
Реле настолько прочно укоренилось в электротехнике, что с совершенствованием полупроводниковых приборов перекочевало и туда, став отдельным компонентом – твердотельным реле, схема одного из вариантов которого показана на рисунке 1б.

Рис. 1. Устройство электромагнитного (электромеханического) реле (а) и схема твердотельного симисторного реле (б)
Долгий срок существования и разнообразие применения не могли не вызвать появления множества вариантов и различных способов классификации реле. Их можно разделить на группы как по функциональному признаку, например, реле времени и тока, так и по принципу действия (электромагнитные, электромеханические, твердотельные и другие) или способу включения (первичные, вторичные, промежуточные). Кроме того, данные компоненты могут разделяться по родам управляющего и управляемого токов, времени срабатывания, количеству контактов, комбинации состояний и коммутационной (нагрузочной) способности, материалов контактов, а в случае твердотельных – типу полупроводникового прибора. Нейтральные и поляризованные реле по-разному ведут себя, в зависимости от направления управляющего тока, а их магнитная система бывает разомкнутой или замкнутой. Также их можно классифицировать и по области применения, как предлагает компания Hongfa (таблица 1).
Таблица 1. Классификация электромеханических и твердотельных реле по версии компании Hongfa
| Тип и класс реле | Применение | |
|---|---|---|
| Электромеханические | Сигнальные | Системы телекоммуникаций и контроля |
| Силовые | Бытовые приборы | |
| Индустриальные | Промышленные устройства | |
| Реле с фиксацией | Контроль силовых цепей | |
| Автомобильные | Автомобильные приложения | |
| Герметичные | Работа в тяжелых условиях и при требовании высокой надежности эксплуатации | |
| Твердотельные (SSR, Solid State Relay) | Работы в тяжелых условиях, при требовании высокой надежности эксплуатации и низкого уровня шума | |
В таблице 1 приведены всего два типа устройств: электромагнитные и твердотельные. При всем своем многообразии в настоящее время они наиболее популярны.
Основное преимущество полупроводниковых реле заключается в отсутствии движущихся механический частей и проблем, связанных с индуктивностью катушки, обгоранием и свариваемостью контактов. Кроме того, твердотельные реле могут быть более быстродействующими и иметь массу дополнительного функционала, например, коммутирование нагрузки в момент перехода фазы через ноль или регулировку мощности фазоимпульсным методом. Зато электромеханические не подвержены выходу из строя в случае многократного превышения напряжения – управляющего или коммутируемого. Основные плюсы и минусы твердотельных и электромагнитных реле приведены в таблице 2. Твердотельные на базе транзисторов в таблице и далее будут именоваться как MOS, а на базе симисторов – SSR.
Таблица 2. Плюсы и минусы электромеханических и твердотельных реле
| Параметры | Электромеханические реле | Твердотельные реле |
|---|---|---|
| Внешний вид | ![]() |
![]() |
| Плюсы |
|
|
| Минусы |
|
|
От типа реле, выбранных разработчиком, зависит и подбор определенных схем управления, которые тоже имеют свои плюсы и минусы. Рассмотрим некоторые из них.
Управление твердотельным реле
Для реализации эффективного и надежного управления входной сигнал должен соответствовать значениям, определяемым спецификациями на конкретные модели реле и условиям их эксплуатации. В большинстве случаев твердотельные реле включаются при токе 5…10 мА и выключаются при его значении ниже 1 мА. В отличие от электромеханического реле, вариантов выбора управляющего напряжения не так много, но зато допускается достаточно большой диапазон напряжений. Наиболее популярные из них: 0,9…1,5 В DC, 4…32 В DC и 90…280 В AC.
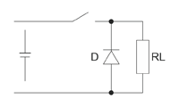
На рисунке 2 показан самый простой способ управления реле – причем любого типа – посредством механического контакта выключателя, кнопки, какого-либо механизма или другого реле.

Рис. 2. Управление реле механическим контактом
Разумеется, такой контакт не может сформировать или согласовать необходимый сигнал управления, он уже должен соответствовать требованиям эксплуатации. В таком случае при управлении непосредственно от сети переменного тока необходимо использовать внешний диодный мост и фильтрующий конденсатор, а также, возможно, понизить напряжение, как это показано на схемах, приведенных на рисунке 3.

Рис. 3. Управление реле выпрямленным напряжением от сети переменного тока
Следует заметить, что в обеих схемах на рисунке 3 отсутствует гальваническая изоляция от сети 230 В AC, и касание любого узла может привести к опасному поражению электрическим током.
Так как твердотельному реле требуется крайне малый ток управления, то от диодного моста, построенного из дискретных диодов или как самостоятельного компонента, не требуется значительно тока. Китайская компания SUNCO специализируется на выпуске диодов, диодных мостов, транзисторов, а также прочих дискретных полупроводников, и имеет в своем ассортименте недорогие миниатюрные диодные мосты, рассчитанные на ток 0,8 А (таблица 3).
Таблица 3. Диодные мосты SUNCO
| Наименование | Повторяющееся импульсное обратное напряжение VRRM, В | Прямой средний ток IFAV, А | Прямое напряжение VF при токе 50% IFAV, В | Корпус |
|---|---|---|---|---|
| ABSx | 200…1000 | 1,0 | 0,95 | ABS![]() |
| HABSx | 600…1000 | 1,0 | 1,7 | |
| LLBx | 50…1000 | 0,8 | 0,95 | |
| RABS10 | 1000 | 1,0 | 1,3 | |
| DB10x DBL10x |
50…1000 | 1,0 | 1,0 | DB, DBL![]() |
| DB10xS DBL10xS |
50…1000 | 1,0 | 1,0 | DBS, DBLS![]() |
| KBPC1xx | 50…1000 | 1,0 | 1,0 | KBPC![]() |
| HDLxS MBLxS |
100…1000 | 0,8 | 1,0 | MBLS![]() |
| MBLxSA | 100…1000 | 1,0 | 1,0 | |
| HMBLxS | 600…1000 | 1,0 | 1,7 | |
| RMBLxS | 200…1000 | 0,8 | 1,3 | |
| MBxS | 100…1000 | 0,8 | 1,0 | MBS![]() |
| MBxSA | 100…1000 | 1,0 | 1,0 | |
| RMBxS | 200…1000 | 0,8 | 1,3 |
Диодные мосты производства SUNCO вы можете найти в каталоге КОМПЭЛ на странице Выпрямительные диоды.
Иногда требуется построить диодный мост из дискретных диодов. SUNCO может предложить как классическое семейство 1N400x, так и ряд других компонентов для поверхностного монтажа (таблица 4).
Таблица 4. Выпрямительные диоды SUNCO
| Наименование | Прямой ток IFAV, А | Обратное напряжение VRRM (VR), В | Прямое напряжение VF, В | Корпус |
|---|---|---|---|---|
| 1N400х | 1,0 | 50…1000 | 1,0 | DO-204AL(DO-41)![]() |
| GS1x Mx |
1,0 | 50…1000 | 1,1 | SMA![]() |
| HS1x | 1,0 | 50…1000 | 1,7 | |
| G1xF G1xFS MxF |
1,0 | 50…1000 | 1,1 | SMAF![]() |
| GS1xB | 1,0 | 50…1000 | 1,1 | SMB![]() |
| G1x G1xS |
1,0 | 50…1000 | 1,1 | SOD-123FL![]() |
| FMG1x FMG1xE |
1,0 | 50…600 | 1,1 | SOD-323FL, SOD-323HE![]() |
Широкая номенклатура и удобный поиск выпрямительных диодов доступен в каталоге КОМПЭЛ на странице Выпрямительные диоды, а по ссылке на Защитные диоды — большой выбор TVS-диодов от SUNCO.
В том случае, когда требуется ограничить управляющее напряжение определенным порогом, что предотвратит перенапряжение на фильтрующем конденсаторе и защитит вход управления твердотельного реле в случае повышения напряжения в сети, удобно использовать стабилитрон, как показано на рисунке 3б. Семейства стабилитронов производства компании SUNCO представлены в таблице 5.
Таблица 5. Стабилитроны SUNCO с напряжением стабилизации 12 и 15 В
| Наименование | Номинальное напряжение стабилизации, В | Мощность рассеивания, мВт | Корпус |
|---|---|---|---|
| BZT52xxxL3P | 3,6…36 | 100 | DFN1006-2L![]() |
| BZT52xxx | 2,4…75 | 500 | SOD-123![]() |
| MMSZ52xxB | 2,4…47 | ||
| BZT52xxxS | 2,4…75 | 300 | SOD-323![]() |
| BZT52xxxBS | 2,4…47 | 400 | |
| MMSZ52xxBS | 2,4…47 | 200 | |
| BZX584Cxxx | 2,4…75 | 200 | SOD-523![]() |
| BZX84Bxxx | 2,4…36 | 350 | SOT-23![]() |
| BZX84Cxxx | 2,4…75 | 350 | |
| BZX84xxxxW | 2,4…39 | 200 | SOT-323![]() |
| BZX84xxxxT | 2,4…39 | 150 | SOT-523![]() |
| SMA2ZxxxAx | 6,8…220 | 2000 | SMA![]() |
| SMA47xxAx | 6,2…100 | 1000 | |
| SMA59xxAx | 6,8…200 | 1500 | |
| SMB3ZxxxAx | 6,8…20 | 3000 | SMB![]() |
| SMF47xxxAx | 6,2…100 | 1000 | SOD-123FL![]() |
Большой выбор этих компонентов от SUNCO можно найти в каталоге КОМПЭЛ на странице Стабилитроны.
Использование внешних транзисторов (рисунок 4) позволяет решить сразу несколько задач:
- согласовать уровни сигналов, поскольку управляющий сигнал может иметь меньший уровень напряжения, чем требуется для срабатывания реле;
- инвертировать логику управления, что может быть удобным, когда требуется срабатывание реле при отсутствии управляющего сигнала;
- буферизировать управляющий сигнал, например, для безопасности выходов КМОП-микросхем.

Рис. 4. Управление реле с помощью транзисторных ключей
Следует учесть, что использование сигнала с меньшим значением напряжения, чем питание управляющего входа реле, возможно лишь по схеме, изображенной на рисунке 4б. Для выключения реле по схеме, представленной на рисунке 4а, сигнал должен либо быть равным напряжению +V, либо отсутствовать. Это возможно, например, с помощью установки выхода микросхемы в высокоимпедансное состояние, при этом на ее выходе будет напряжение +V, что может оказаться недопустимым.
Чтобы упростить построение управления внешним транзистором и сэкономить место, хорошим решением будет применение цифровых транзисторов, отличающихся от обычных наличием встроенных резисторов в цепях базы (таблицы 6 и 7).
Таблица 6. Цифровые PNP-транзисторы SUNCO
| Наименование | Резисторы | Ток коллектора IC, мА | Напряжение, В | Корпус | ||
|---|---|---|---|---|---|---|
| R1, кОм | R2/R1 | Вход | Коллектор | |||
| DDTA123YCA | 2,2 | 4,5 | -500 | -12…5 | -50 | SOT-23![]() |
| DTA113ZCA | 1 | 10 | -100 | -10…5 | ||
| DTA114ECA | 10 | 1 | -100 | -40…10 | ||
| DTA114YCA | 10 | 4,7 | -70 | -40…6 | ||
| DTA123ECA | 2,2 | 1 | -100 | -10…5 | ||
| DTA123JCA | 2,2 | 21 | -100 | -12…5 | ||
| DTA124ECA | 22 | 1 | -100 | -40…10 | ||
| DTA143ECA | 4,7 | 1 | -100 | -30…10 | ||
| DTA143XCA | 4,7 | 2,1 | -100 | -20…7 | ||
| DTA143ZCA | 4,7 | 10 | -100 | -30…5 | ||
| DTA144ECA | 47 | 1 | -100 | -40…10 | ||
| DTA113ZUA | 1 | 10 | -100 | -10…5 | -50 | SOT-323![]() |
| DTA114EUA | 10 | 1 | -100 | -40…10 | ||
| DTA123EUA | 2,2 | 1 | -100 | -12…10 | ||
| DTA123JUA | 2,2 | 21 | -100 | -12…5 | ||
| DTA123YUA | 2,2 | 4,5 | -100 | -12…5 | ||
| DTA124EUA | 22 | 1 | -30 | -40…10 | ||
| DTA143EUA | 4,7 | 1 | -100 | -30…10 | ||
| DTA143XUA | 4,7 | 2,1 | -100 | -20…7 | ||
| DTA143ZUA | 4,7 | 10 | -100 | -30…5 | ||
| DTA144EUA | 47 | 1 | -100 | -40…10 | ||
Таблица 7. Цифровые NPN-транзисторы SUNCO
| Наименование | Резисторы | Ток коллектора IC, мА | Напряжение, В | Корпус | ||
|---|---|---|---|---|---|---|
| R1, кОм | R2/R1 | Вход | Коллектор | |||
| DDTC113ZCA | 1 | 10 | 500 | -5…10 | 50 | SOT-23![]() |
| DDTC123YCA | 2,2 | 4,5 | 500 | -5…12 | ||
| DTC113ZCA | 1 | 10 | 100 | -5…10 | ||
| DTC114ECA | 10 | 1 | 100 | -10…40 | ||
| DTC114YCA | 10 | 4,7 | 70 | -6…40 | ||
| DTC123ECA | 2,2 | 1 | 100 | -10…12 | ||
| DTC123JCA | 2,2 | 21 | 100 | -5…12 | ||
| DTC123YCA | 2,2 | 4,5 | 100 | -5…12 | ||
| DTC124ECA | 22 | 1 | 100 | -10…40 | ||
| DTC143ECA | 4,7 | 1 | 100 | -10…30 | ||
| DTC143XCA | 4,7 | 2,1 | 100 | -7…20 | ||
| DTC143ZCA | 4,7 | 10 | 100 | -5…30 | ||
| DTC144ECA | 47 | 1 | 100 | -10…40 | ||
| DTC113ZUA | 1 | 10 | 100 | -5…10 | 50 | SOT-323![]() |
| DTC114EUA | 10 | 1 | 100 | -10…40 | ||
| DTC114YUA | 10 | 4,7 | 100 | -6…40 | ||
| DTC123EUA | 2,2 | 1 | 100 | -10…12 | ||
| DTC123JUA | 2,2 | 21 | 100 | -5…12 | ||
| DTC123YUA | 2,2 | 4,7 | 100 | -5…12 | ||
| DTC124EUA | 22 | 1 | 100 | -10…40 | ||
| DTC143EUA | 4,7 | 1 | 100 | -10…30 | ||
| DTC143XUA | 4,7 | 2,1 | 100 | -7…20 | ||
| DTC143ZUA | 4,7 | 10 | 100 | -5…30 | ||
| DTC144EUA | 47 | 1 | 100 | -10…40 | ||
Удобный подбор цифровых транзисторов с необходимыми параметрами доступен в каталоге КОМПЭЛ: Биполярный транзистор.
Выше при сравнении электромеханических реле с твердотельными было отмечено, что последним необходимо всегда подавать сигнал для поддержания определенного состояния, в то время как среди электромагнитных есть варианты с импульсным управлением. Его имитацию можно построить и с помощью твердотельного реле и маломощного тиристора (рисунок 5). Для выключения тиристора необходимо прекратить протекание через него тока, что можно обеспечить шунтированием транзистором анода и катода тиристора. Таким образом импульс одного сигнала будет включать реле, импульс другого – выключать, что позволяет использовать, например, две кнопки без фиксации. Однако следует обратить внимание на особенность такой схемы: импульс выключения не только шунтирует тиристор, но одновременно и включает реле.

Рис. 5. Управление твердотельным реле двумя импульсными сигналами
Так как для управления твердотельным реле требуется очень небольшой ток, для схемы, изображенной на рисунке 5, подойдут тиристоры и симисторы (таблица 8) производства компании SUNCO в миниатюрных корпусах SOT-23, SOT-223, SOT-89 и TO-92.
Таблица 8. Маломощные тиристоры и симисторы SUNCO
| Наименование | Тип | Отпирающий ток, мА | Ток включения/удержания, мA | Рабочее напряжение UDRM, В | Действующий ток ITRMS, А | Корпус |
|---|---|---|---|---|---|---|
| YC0810S1 | Тиристор | < 0,2 | 3/2 | 800 | 1 | SOT-23![]() |
| YC0810S2 | 3/2 | 800 | SOT-223![]() |
|||
| YC0910S2 | 4/3 | 900 | ||||
| ACY0810S2 | Симистор | < 5 (I-II-III) | 7/5 | 800 | ||
| YC0810S3 | Тиристор | < 0,2 | 3/2 | 800 | SOT-89![]() |
|
| YC0910S3 | 4/3 | 900 | ||||
| ACY0810S3 | Симистор | < 5 (I-II-III) | 7/5 | 800 | ||
| YC0810T9 | Тиристор | < 0,2 | 4/3 | 900 | TO-92![]() |
|
| ACY0810T9 | Симистор | < 5 (I-II-III) | 7/5 | 800 |
Управление электромагнитным реле
Применение электромеханических реле требует особенного отношения к управлению ими из-за наличия электромагнитной катушки, чья обратная ЭДС может повредить транзисторный ключ всплеском перенапряжения. Кроме того, управление требует значительной энергии. Как видно по данным в таблице 9, где представлены некоторые семейства, выпускаемые компанией Hongfa, соленоид электромеханического реле может потреблять от десятков милливатт до нескольких ватт.
Таблица 9. Напряжение катушки и мощность управления некоторых семейств электромеханических реле Hongfa
| Наименование семейства | Варианты напряжений катушки, В DC | Мощность управления, Вт | Коммутируемый ток, А |
|---|---|---|---|
| HFD53 | 1,5, 2,4, 3, 4,5, 5, 6, 9, 12 | 0,05 | 1 |
| HFD5-K | 1,5, 2,4, 3, 4,5, 5, 6, 9, 12, 24 | 0,14 | 2 |
| HFD2 | 3, 5, 6, 9, 12, 15, 24, 48 | 0,075…0,2 | 3 |
| HF33F | 3, 5, 6, 9, 12, 18, 24, 48 | 0,2…0,45 | 10 |
| HFE20 | 3, 5, 6, 9, 12, 24 | 0,4…0,6 | 16 |
| HF152F | 3, 5, 6, 9, 12, 18, 24, 48 | 0,36 | 20 |
| HF105F-4 | 5, 6, 9, 12, 15, 18, 24, 48, 70, 110 (12, 24, 120, 208, 220, 240, 270 AC) |
0,9 (2 AC) |
30 |
| HFV16 | 12, 24 | 1,6…2 | 40; 70 |
| HF116F-G | 3, 6, 9, 12, 24, 48 | 3,2 | 50 |
| HFE19-60 | 3, 5, 6, 9, 12, 18, 24, 48 | 1; 2 | 60 |
| HFE18V-100 | 12, 24 | 4,5 | 100 |
| HFE31 | 6, 12, 24, 48 | 5; 10 | 180 |
Экономия энергии может быть достигнута путем применения бистабильного реле, когда энергия требуется лишь на время перехода из одного состояния в другое, или посредством уменьшения тока после срабатывания до значения тока удержания.
Простые схемы управления электромеханическими реле аналогичны твердотельным: кнопка, ток, выпрямленный диодным мостом и ограниченный резистором (рисунки 2 и 3), или транзисторный ключ. Однако, как уже говорилось выше, транзистор необходимо защитить от обратной ЭДС. Это можно сделать с помощью параллельно подключенного диода, как показано на рисунке 6.

Рис. 6. Управление электромагнитным реле с помощью биполярных транзисторных ключей
Поскольку частота переключения реле достаточно низкая, к диоду, блокирующему обратную ЭДС, предъявляются достаточно простые требования: его прямой ток должен соответствовать току катушки (с небольшим запасом), а обратное напряжение должно превышать напряжение катушки в 2…3 раза. В случае высоковольтных катушек могут быть использованы диоды, представленные в таблице 4, а для низковольтных – в таблице 10.
Таблица 10. Сигнальные диоды SUNCO
| Наименование | Прямой ток IFAV, мА | Обратное напряжение VRRM (VR), В | Прямое напряжение VF, В | Корпус |
|---|---|---|---|---|
| 1N4148W | 150 | 100 | 1,25 | SOD-123![]() |
| MMSD4148 | 200 | 100 | 1,0 | |
| 1N4448W | 250 | 100 | 1,0 | |
| BAS16W | 200 | 100 | 0,85 | |
| BAV116W | 200 | 100 | 1,25 | |
| BAV19W | 200 | 100 | 1,0 | |
| BAV20W | 200 | 150 | 1,0 | |
| BAV21W | 200 | 200 | 1,0 | |
| 1N4148WS | 150 | 75 | 1,0 | SOD-323![]() |
| 1N4148WSL | 150 | 80 | 1,2 | |
| 1N4448WS | 250 | 75 | 0,72 | |
| 1SS355 | 150 | 80 | 1,2 | |
| BAS16WS | 200 | 100 | 0,85 | |
| BAS21J | 225 | 300 | 1,0 | |
| BAS21WS | 200 | 250 | 1,25 | |
| BAS316 | 250 | 100 | 1,0 | |
| BAS321 | 200 | 200 | 1,0 | |
| BAS416 | 200 | 100 | 1,0 | |
| BAV19WS | 200 | 100 | 1,0 | |
| BAV20WS | 200 | 150 | 1,0 | |
| BAV21WS | 200 | 200 | 1,0 |
Параметрический поиск в каталоге КОМПЭЛ поможет подобрать необходимый Выпрямительный диод.
Ток, протекающий через транзисторный ключ в схемах, изображенных на рисунке 6, может быть довольно значительным – в десятки и сотни миллиампер, и, если предполагается управление минимальным током, то предпочтительнее выбрать транзисторы с достаточно большим коэффициентом усиления (h21э) либо использовать МОП-транзисторы. При этом схема включения остается практически такой же (рисунок 7).

Рис. 7. Управление электромагнитным реле с помощью MOSFET
В таблицах 11 и 12 представлены биполярные и МОП-транзисторы SUNCO, которые могут быть использованы в ключах электромагнитных реле. Они имеют встроенный супрессор для защиты затвора от электростатического разряда.
Таблица 11. Биполярные транзисторы SUNCO
| Наименование | Полярность | Ток коллектора IC, А | Напряжение VCEO, В | Минимальный коэфф. усиления h21э | Насыщение VCE(sat), В | Корпус |
|---|---|---|---|---|---|---|
| PBSS4350X | NPN | 3 | 50 | 300 | 0,37 | SOT-89![]() |
| PXT2222A | 0,6 | 40 | 100 | 1 | ||
| PXT2907A | PNP | -0,6 | -60 | 100 | -1,6 | |
| PBSS5240X | -2 | -40 | 215 | -0,63 | ||
| PBSS5330X | -3 | -30 | 175 | -0,32 | ||
| PBSS5350X | -3 | -50 | 200 | -0,39 | ||
| PBSS4350Z | NPN | 3 | 50 | 200 | 0,29 | SOT-223![]() |
| PBSS304NZ | 5,2 | 60 | 300 | 0,28 | ||
| PBSS304PZ | PNP | -4,5 | -60 | 200 | -0,375 | |
| PBSS5350Z | -3 | -50 | 200 | -0,3 | ||
| PBHV9414Z | -4 | -140 | 100 | -0,55 | ||
| SS8050-x | NPN | 1,5 | 25 | 120…200 | 0,5 | SOT-23![]() |
| S8050-x | 0,6 | |||||
| S9013 | 0,5 | 25 | 120 | 0,6 | ||
| PMMT491A | 1 | 40 | 300 | 0,5 | ||
| PBSS42x0T | 2 | 40 | 350 | 0,1 | ||
| MMBTA05 | 0,5 | 60 | 100 | 0,25 | ||
| MMBTA06 | 0,5 | 80 | 100 | 0,25 | ||
| MMBT2222A | 0,6 | 40 | 100 | 0,3 | ||
| MMBT5551 | 0,6 | 160 | 100 | 0,2 | ||
| BC818-x | 0,5 | 25 | 100…250 | 0,7 | ||
| BC817-x | 0,5 | 45 | 100…200 | 0,7 | ||
| SS8550-x | PNP | -1,5 | -25 | 120…200 | -0,5 | |
| S9012 | -0,5 | -25 | 120 | -0,6 | ||
| PMMT591A | -1 | -40 | 300 | -0,225 | ||
| PBSS5240T | -2 | -40 | 300 | -0,125 | ||
| MMBTA56 | -0,5 | -80 | 100 | -0,25 | ||
| MMBT5401 | -0,6 | -160 | 100 | -0,5 | ||
| MMBT2907A | -0,6 | -60 | 100 | -0,4 | ||
| FMMT591 | -1 | -60 | 100 | -0,6 | ||
| BC807-xx | -0.5 | -45 | 100…250 | -0,7 |
Найти нужный Биполярный транзистор SUNCO вы можете в каталоге КОМПЭЛ.
Таблица 12. MOSFET SUNCO со встроенным супрессором затвора
| Наименование | Канал | Напря- жение VDS, В |
Ток ID при Tc = 25°C, А | Сопротив- ление перехода RDS(ON), мОм |
Параметры затвора | Корпус | |||
|---|---|---|---|---|---|---|---|---|---|
| Напря- жение VGS, В |
Пороговое напряжение VGS(th), В | Заряд Qg, нКл | Входная емкость Ciss, пФ | ||||||
| 2N7002KC | N | 60 | 0,3 | 1900 | ±20 | 1…2,5 | 1,22 | 21 | SOT-23![]() |
| 2N7002KCQ | 60 | 0,3 | 1900 | ±20 | 1…2,5 | 1,65 | 27 | ||
| BSS138AJKQ | 50 | 0,22 | 1200 | ±20 | 0,7…1,45 | 1,2 | 29 | ||
| BSS138KJ | 60 | 0,6 | 1100 | ±20 | 0,5…1,5 | 1,4 | 25 | ||
| YJL02N04AKHQ | 40 | 2,5 | 70 | ±20 | 1…2,5 | 4,45 | 150 | ||
| YJL3018KJ | 30 | 0,4 | 1600 | ±20 | 0,6…1,6 | 0,85 | 14,6 | ||
| YJL3134KA | 20 | 0,9 | 220 | ±12 | 0,35…1,1 | 0,8 | 33 | ||
| YJL3416A | 20 | 7 | 14 | ±10 | 0,45…1 | 12 | 610 | ||
| BSS84AJKQ | P | -60 | -0,4 | 2200 | ±20 | -2,5…-1 | 2,1 | 33 | |
| BSS84KJ | -60 | -0,3 | 2200 | ±20 | -2…-1 | 1,7 | 35 | ||
| YJL3139KA | -20 | -0,5 | 580 | ±12 | -1,2…-0,35 | 1,24 | 71 | ||
| YJL3415KC | -20 | -5 | 28 | ±10 | -1,25…-0,55 | 13 | 540 | ||
| YJL3415KCQ | -20 | -3,9 | 28 | ±10 | -1,25…-0,5 | 13 | 540 | ||
В каталоге КОМПЭЛ собрана широкая номенклатура FET-транзисторов производства SUNCO.
При недостаточном коэффициенте усиления, особенно в случае использования транзисторов с его низким значением, ключ управления реле можно построить из двух биполярных транзисторов по схеме Дарлингтона (рисунок 8а), или Шиклая (рисунок 8б). Как можно легко заметить, различаются обе схеме лишь тем, что в одном случае используются транзисторы одной полярности, а в другом – различной. Итоговый коэффициент усиления тока примерно равен произведению h21э транзисторов.

Рис. 8. Управление электромагнитным реле с помощью составных транзисторов
Время срабатывания электромеханического реле достаточно большое, а введение в цепь соленоида реле защитных компонентов, таких как диод, дополнительно увеличивает время отключения. Некоторое усложнение схемы ключа и способность соленоида кратковременно выдерживать перенапряжение в 2…3 раза больше номинального позволяют улучшить время переключения. На рисунке 9а ускоренное включение происходит посредством кратковременного повышения напряжения катушки благодаря накопленной энергии в конденсаторе С1. Введение последовательного стабилитрона в цепь блокировки обратной ЭДС, как это показано на рисунке 9б, позволит сократить время выключения реле.

Рис. 9. Уменьшение времени включения (а) и выключения (б) реле
Использование полупроводниковых ключей для управления электромеханическим реле или применение твердотельных реле обязывает предусмотреть защиту входных цепей от импульсов перенапряжений и электростатических разрядов. В таблице 12 были представлены МОП-транзисторы, затвор которых защищен супрессором. В тех случаях, когда интегрированный супрессор отсутствует, его можно установить отдельно. Некоторые семейства таких защитных TVS-диодов производства компании SUNCO приведены в таблице 13.
Таблица 13. Семейства TVS-диодов SUNCO
| Наименование | Рабочее напряжение, В | Мощность Ppk для импульса 10/1000 мкс, Вт | Корпус |
|---|---|---|---|
| 1.5KE | 5,50…154 | 1500 | DO-201AE![]() |
| P6KE | 5,50…513 | 600 | DO-204AC![]() |
| 1.5SMC | 5,8…513 | 1500 | DO-214AB (SMC)![]() |
| SMCJ | 5,0…440 | ||
| P6SMB | 5,8…513 | 600 | DO-214AA (SMB)![]() |
| SMBJ | 5,0…440 | ||
| SMAJ | 5,0…440 | 400 | DO-214AC (SMA)![]() |
| SMF | 5,0…220 | 200 | SOD-123FL![]() |
Поскольку замыкание и размыкание механических контактов реле происходит не мгновенно, появляются различные паразитные явления, такие как дребезг, возникновение электрической дуги, риск сваривания контактов. Дуга изнашивает контакты, вызывает их перегрев, окисление и, как следствие, увеличение сопротивления. Сваривание практически равно выходу реле из строя – оно не способно разомкнуть цепь. Устранение подобных проблем возможно двумя способами:
- при производстве реле, например, путем добавления графита в материал контактов, что не позволит им привариться друг к другу;
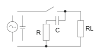
- введением в цепь контактов и нагрузки дополнительных элементов (таблица 14), защищающих от переходных процессов во время замыкания и размыкания контактов реле.
Таблица 14. Схемы защиты цепей нагрузки и контактов от переходных процессов
| Вариант схемы защиты | Использование при токе нагрузки | Свойства | Примечания | ||
|---|---|---|---|---|---|
| AC | DC | ||||
| RC-цепь | ![]() |
Примечание под таблицей | Да | Напряжение цепи обычно составляет 24…48 В. Время отключения увеличивается, в случае нагрузки в виде таймера может привести к его ошибке из-за тока утечки. При переменном токе импеданс RC-цепочки должен быть существенно больше сопротивления нагрузки CR. |
Значения емкости и сопротивления RC-цепочки могут варьироваться в зависимости от свойств нагрузки. |
![]() |
Да | Да | Применимо к напряжению цепи 100…200 В. | ||
| Диод | ![]() |
Нет | Да | Параллельно подключенный диод блокирует обратную ЭДС индуктивной нагрузки, что позволяет снизить обратное напряжение. Время переходных процессов больше чем в схеме с RС-цепочкой. |
Диод должен иметь напряжение пробоя в 10 раз больше напряжения цепи, прямой ток – не менее тока нагрузки. В низковольтных цепях можно использовать диод с обратным напряжением, в 2…3 раза превышающим напряжение цепи. |
| Диод и стабилитрон | ![]() |
Нет | Да | Стабилитрон уменьшает время переходных процессов. | Напряжение стабилизации стабилитрона должно быть примерно равно напряжению цепи нагрузки. |
| Варистор | ![]() |
Да | Да | Предотвращает перенапряжение. Время отключения увеличивается. Если напряжение цепи 24…48 В, наиболее эффективно подключение варистора параллельно контактам, если напряжение цепи 100…200 В – параллельно нагрузке. |
Напряжение ограничения варистора должно быть в 1,5 раза больше пикового значения напряжения питания. Слишком большое напряжение ограничения варистора не даст хорошего эффекта. |
| Примечание: эффект гашения дуги – хороший способ при размыкании контактов. При замыкании запасенная энергия в конденсаторе способствует их свариванию. |
Коммутирование слаботочных сигналов и силовых цепей – задача, которую требуется выполнять с момента управления электрическим током. С ней прекрасно справляются как электромеханические, так и полупроводниковые реле. А обеспечение их надежной работы – задача, для которой отлично подойдут полупроводниковые компоненты, выпускаемые компанией SUNCO. Их качество обеспечено полным циклом производства, современным оборудованием и многолетним опытом лучших мировых специалистов в области полупроводников.
Дополнительная литература
- Ф. А. Ступель. Электромеханические реле, 2-е изд. 1956 г.
- А. Л. Червоный. Реле и элементы промышленной автоматики. Практическое пособие для инженеров. 2012 г.
- Г. Г. Раннев и др. Мощные электромагнитные реле. Справочник инженера. 2001 г.
- И. Б. Бондаренко, Ю. А. Гатчин, Н. Ю. Иванова, Д. А. Шилкин. Соединители и коммутационные устройства. Учебное пособие. СПб: СПбГУ ИТМО. 2007 г.
- С. М. Рюмик. 1000 и одна микроконтроллерная схема. Выпуски 2, 3, 4. Додэка, 2011…2016 гг.

















































Наши информационные каналы